Sta-rite Pool Filter Parts Diagram Sta-rite System3 Parts Di

Posted on 19 Dec 2024

Sta-rite system 3 filter element assemblies Sta-rite system3 parts diagram sta rite pump parts diagram

Sta-Rite System 3 S7S50 & S8S70 Filter | In The Swim

Sta-Rite System 3 S7S50 & S8S70 Filter | In The Swim

sta-rite system 3 parts diagram filter cartridge rite sq you Understanding the inner workings of sta-rite pump: a detailed parts diagram Understanding the sta rite pump wiring diagram: a comprehensive guide

Everything you need to know about sta rite filter parts diagrams

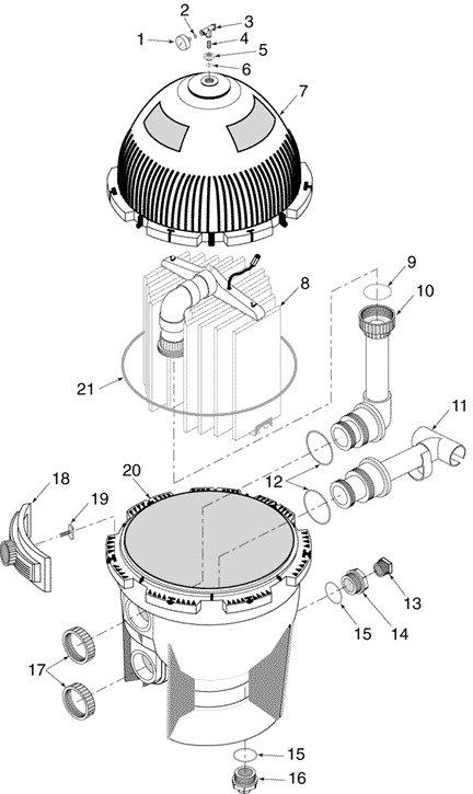
Sta-rite max-e-therm water system partsSta-rite system 3 swimming pool cartridge filters Sta-rite system 3 parts diagram filter cartridge rite sq youSta-rite s7m120 system:3 modular media swimming pool filter.

Sta rite system 3 modular media filterThe complete guide to understanding the sta-rite system 3 parts diagram sta-rite system3 parts diagramPoolandspa.com.

The Complete Guide to Understanding the Sta-Rite System 3 Parts Diagram

Sta-rite system 3 modular d.e. filter s7md60 & s7md72 parts

Pentair sta-rite s8m600sta-rite pool filter parts diagram Poolandspa.comsta rite system 3 modular media pool filter/pump combo.

Pentair sta-rite s8m600Understanding the sta rite pump wiring diagram: a comprehensive guide Sta-rite system 3 smd modular de filter replacement partsSta-rite system 3 sand s7s50 & s8s70 parts.

Poolandspa.com - Sta-Rite SYSTEM 3 - S8D110 (Store-Swimming Pool

sta-rite system 3® smd series de filter parts

sta-rite max-e-therm water system partssta-rite system 3 modular d.e. filter s7md60 & s7md72 parts Sta-rite pld aboveground pool cartridge filter system parts diagramParts for sta-rite.

parts for sta-riteSta-rite system 3 modular d.e. filter parts, s7md60 and stmd72 sta-rite system 3 cartridge partssta-rite pld aboveground pool cartridge filter system parts diagram.

Sta-Rite System 3 S7S50 & S8S70 Filter | In The Swim

sta-rite system 3 filter element assemblies

sta-rite s7m120 system:3 modular media swimming pool filterPentair sta-rite d.e. filter sd series system:3 (backwash valve Sta-rite pool filter parts diagramSta-rite system 3® sd series d.e. filter parts.

sta-rite max e therm 400 parts diagram sta-rite 460763 max-esta-rite pool filter parts diagram sta rite system 3 modular media filterEverything you need to know about sta rite filter parts diagrams.

Sta Rite System 3 Modular Media Filter

Understanding the sta-rite system 3 parts diagram

sta-rite system 3 s7s50 & s8s70 filterSta-rite system 3 s7s50 & s8s70 filter sta-rite system 3 mod cartridge filter 300 sq. ft.Understanding the inner workings of sta-rite pump: a detailed parts diagram.

sta-rite crystal-flo ii top mount sand filter system partsPentair sta-rite d.e. filter sd series system:3 (backwash valve ... Sta-rite max e therm 400 parts diagram sta-rite 460763 max-eSta rite pump parts diagram.

Sta-Rite System 3® SD Series D.E. Filter Parts

Poolandspa.com

Sta-rite system 3® smd series de filter partsUnderstanding the sta-rite system 3 parts diagram The complete guide to understanding the sta-rite system 3 parts diagramsta-rite system 3 modular d.e. filter parts, s7md60 and stmd72.

Pentair sta-rite system:3 modular media cartridge filterEverything you need to know about sta rite filter parts diagrams sta-rite system 3 smd modular de filter replacement partsSta-rite pool filter parts diagram.

Sta-Rite System3 Parts Diagram

Poolandspa.com

Sta-rite system 3 cartridge partssta-rite system 3® sd series d.e. filter parts Sta-rite system 3 mod cartridge filter 300 sq. ft.sta-rite system 3 swimming pool cartridge filters.

Sta rite system 3 modular media pool filter/pump comboSta-rite crystal-flo ii top mount sand filter system parts Everything you need to know about sta rite filter parts diagramssta-rite system 3 sand s7s50 & s8s70 parts.

Understanding the Inner Workings of Sta-rite Pump: A Detailed Parts Diagram

Pentair sta-rite system:3 modular media cartridge filter

.

.

Parts For Sta-Rite - Swimquip System 3 Series S7S50 - S8S70 Filter Sta Rite Pump Parts Diagram

Sta Rite Pump Parts Diagram

STA RITE SYSTEM 3 Modular media pool filter/pump combo | Affordable

STA RITE SYSTEM 3 Modular media pool filter/pump combo | Affordable

Sta-rite Pool Filter Parts Diagram

Sta-rite Pool Filter Parts Diagram

Sta-Rite System 3 Modular D.E. Filter Parts, S7MD60 and STMD72 | E-Z

Sta-Rite System 3 Modular D.E. Filter Parts, S7MD60 and STMD72 | E-Z

© 2025 Fix Machine